Elektrické chladenie a prečerpávanie tepla
| Elektricky získané teplo |
| Elektrické zdroje tepla |
| Vykurovacie telesa a ich druhy |
| El. pece, oblúkové zváranie |
| El. chladenie a prečerp. tepla |
Chladenie je v podstate prečerpávanie tepla, ktoré odoberáme ochladzovanej látke alebo priestoru a odvádzame ho do inej látky alebo priestoru. Chladenie môže byť vzdušné alebo vodné. Dokonalejšie je strojové chladenie, založené na odparovaní vhodného chladiva.
Podľa spôsobu skvapalňovania odpareného chladiva rozdeľujeme chladničky na:
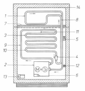
Elektrická kompresorová chladnička značky Calex používa ako chladivo difluór (ledon). Jej princíp je na obr. 1. Spúšťanie elektromotora kompresora je periodické a obstaráva ho termostat a rozbehové relé.

Obr. 1. Schéma chladiaceho okruhu kompresorovej chladničky
1 — výparník. 2 — kompresor, 3 — kondenzor (zrážač),4— dehydrátor,5 — termostat s prepínačom a rozbehovým relé, 6 — elektrický prívod -svorkovnica,7 — klimatizačná priečka,8 — kapilárna rúrka,9 — plynný ledon,10 — kvapalný ledon,11 — vnútorné osvetlenie, 12 — dverový kontakt,13 — magnetické tesnenie dvier,14 — smaltovaný plášť s tepelnou izoláciou
Elektrická absorpčná chladnička používa ako chladivo zmes čpavku, vody a vodíka v určitom pomere. Funkcia chladničky je založená na fyzikálnych zákonoch vyparovania kvapalín, miešania plynov a absorpcie plynov v kvapalinách.
Polovodičová termoelektrická chladnička pracuje na princípe Peltierovho javu. Chladiace batérie sú zložené z polovodičových článkov. Chladný spoj polovodičov N a P možno použiť na chladiace účely tak, že sa umiestni do tepelne izolovanej časti chladničky. Teplá strana článku sa pripojí na zdroj jednosmerného prúdu. Tieto chladničky sa úspešne používajú v zariadeniach s malými chladiacimi výkonmi, kde nezáleží na ich nadobúdacej cene zariadenia a účinnosti prevádzky.
Prečerpávanie tepla Slnko vysiela na našu Zem každodenne oveľa viac energie, ako jej môžeme spotrebovať. Pôda a voda odoberajú časť tejto energie zo vzduchu a akumulujú ju v lete rovnako ako v zime.
Toto akumulované teplo možno veľmi jednoducho využívať tepelnými čerpadlami, ktorými možno získať teplo z pôdy, vody alebo zo vzduchu.
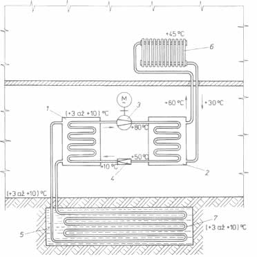
Princíp tepelného čerpadla je na obr. 2. zariadenie pracuje podobne ako kompresorová chladnička, ale s tým rozdielom, že výparník prečerpáva teplo z miesta nižšej teploty (3 "C až 10 °C) do miesta vyššej teploty v miestnosti, v ktorej je umiestený radiátor 6.

Obr. 2 Príklad využitia tepelného čerpadla na vykurovanie
1 — výparník, 2 — kondenzátor, 3 — kompresor s elektromotorom, 4 — redukčný ventil, 5 — zdroj tepla,
6 — teplovodný radiátor, 7 — podzemný výmenník tepla
Princíp fungovania:
Tepelné čerpadlo má štyri základné časti, a to výparník 1, kondenzátor 2, kompresor 3 a redukčný ventil 4. Okruh tepelného čerpadla je naplnený kvapalinou s nízkym bodom varu, ktorý nazývame pracovné médium. Kompresor 3 nasáva pracovné médium z výparníka J, v ktorom nastáva podtlak, médium sa vyparuje, na čo spotrebúva výparné teplo zo zdroja 5. Médium sa stlačí kompresorom, zahreje sa na teplotu asi 70 °C a vháňa do kondenzátora 4, v ktorom sa skvapalňuje. Pri skvapalňovaní odovzdáva pohltené výparné teplo do sústavy teplovodného vykurovania 6.
Skvapalnené médium preteká redukčným ventilom 4, expanduje, čím stráca tlak a výrazne sa ochladzuje. Pretože pracovné médium je chladnejšie ako zdroj tepla 5, odčerpáva z neho teplo a cyklus sa znova opakuje v smere výparník, kompresor, kondenzátor a redukčný ventil.
Zdrojom tepla môže byť:
Tepelnú energiu získanú tepelnými čerpadlami možno využívať na vykurovanie, klimatizáciu a ohrev úžitkovej vody v obytných budovách, školách, zhromažďovacích alebo pracovných priestoroch, plavárňach, administratívnych a priemyselných budovách aj v kombinácii s chladiacimi zariadeniami, napr. v mliekarenskom priemysle na chladenie mlieka alebo pri sušení dreva, tehál, prádla, potravín a pod.
Tepelné čerpadlá sú v porovnaní s klasickým vyhrievaním výhodnejšie, pretože nie sú potrebné sklady palív, spaľovacie zariadenia a komíny, ktoré značne znečisťujú svoje okolie. Tak sa ozdravuje životné prostredie, a to ovzdušie aj spodné vody v okolí miest, priemyselných a iných objektov.