Elektrické stanice s príslušenstvom
Elektrickou stanicou sa nazýva ucelené zariadenie uzla elektrizačnej sústavy (ES), v ktorom je sústredená väčšina dôležitých funkcií rozvodnej sústavy, najmä spínanie, istenie, meranie, ovládanie, návestenie, automatizačné, dispečerské a oznamovacie zariadenia.
Elektrické stanice sa rozdeľujú podľa funkcie na:
Transformovne slúžia na zmenu napätia elektrizačnej sústavy pri rovnakej frekvencii alebo na galvanické oddelenie jednej časti siete od druhej. Stavajú sa pri výrobniach elektrickej energie, v dôležitých energetických uzloch magistrálnych rozvodov s napätím 220 a 400kV a v uzloch primárnych rozvodov (HOkV), distribučných a miestnych rozvodoch (22kV), z ktorých sa napájajú verejný rozvod mesta, obce, sídliska, poľnohospodárske a priemyselné závody a odľahlé pracoviská, napr. lomy, bane a pod.
Spínacie stanice sa používajú na rozvádzanie elektrickej energie toho istého napätia bez transformácie a bez premeny.
Hlavnou úlohou spínacích staníc je zabezpečiť dodávky elektrickej energie pre dôležité oblasti národného hospodárstva v prípadoch havarijných situácií a obmedzenie skratových výkonov v napájacích transformovniach distribučných sietí.
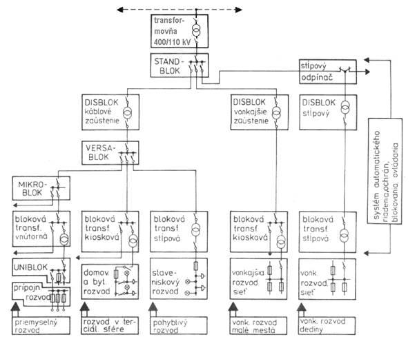
Meniarne slúžia na premenu elektrického striedavého prúdu na prúd s inou frekvenciou alebo na jednosmerný prúd a na jeho rozvádzame.
Elektrické meniarne sa umiesťujú na miestach napájania elektrickej trakcie mestskej alebo železničnej dopravy a metra.
Meniarne pre diaľkové prenosy jednosmerným napätím majú veľký význam pri medzinárodnej spolupráci v dodávkach elektrickej energie, kde sa často prepájajú elektrizačné sústavy rôznou frekvenciou. V týchto prípadoch sú meniarne vystrojené ortuťovými alebo polovodičovými (tyristorovými) konvertormi (usmerňovačmi) a invertormi (striedačmi).
Kompenzovne slúžia na vyrovnanie jalových zložiek striedavého prudu, príp. parametrov vedenia. Umiesťujú sa v dôležitých miestach nadradenej elektrizačnej sústavy 400 kV.
Podľa začlenenia elektrických staníc do elektrizačnej sústavy sú stanice rozdelené na:

obr.1 Základné spôsby rozvodu elektrickej energie v ČR
Veľmi dôležitou súčasťou elektrických staníc sú rozvodne, v ktorých sa sústreďujú rôzne druhy odbočiek pre alternátory, transformátory, vonkajšie a káblové vývody, spínače prípojníc, meranie elektrickej energie a napätia v elektrizačnej sústave a pod.
Usporiadanie rozvodní možno rozlišovať podľa mnohých hľadísk:
- ktoré sú väčšinou už typizované, čo umožňuje ich rýchlu montáž a uvádzanie do prevádzky v krátkych termínoch.
delenou
-dvojité,
-trojité
-podľa dôležitosti rozvodní rôzne delené a vystrojené.
Elektrické stanice sú vystrojené mnohými spoločnými zariadeniami, napr. transformátory vlastnej spotreby, rozvodne, rozvádzače, rozvodnice, kompenzačné zariadenia, dozorná, akumulátorová batéria, zariadenie na výrobu a rozvod stlačeného vzduchu, vykurovanie, vetranie a klimatizácia olejovým hospodárstvom, revízia veží, dielňa, sklad a ďalšie dôležité zariadenia.
Elektrické vedenia nn, vn a vvn
Zariadenia na rozvod elektrickej energie sú veľmi dôležitou súčasťou elektrizačnej sústavy. Tieto zariadenia musia počas dlhoročnej prevádzky a pri každom počasí preniesť elektrickú energiu z výrobní až k najvzdialenejším spotrebiteľom.
Každé elektrické vonkajšie, káblové vedenie a elektrická stanica musia mať ochranné pásma, ktoré zabezpečujú jeho bezpečnú prevádzku.
Pri vonkajších vedeniach je ochranné pásmo od krajného vodiča široké na každú stranu 5m (v lesnom prieseku) a 10m (mimo lesného prieseku) pre napätia vn, 15m od 60kV do 110kV (vrátane), 20m vyše 110kV do 220kV a 25m nad 220kV do 400kV (mimo lesného prieseku). Pre 750kV je to 110m až 120m od krajného vychýleného vodiča.
Pri káblových vedeniachvšetkých druhov (vrátane ovládacích, signálnych a oznamovacích) je šírka ochranného pásma od krajného kábla 1m.
Pri elektrických staniciach je ochranné pásmo 30m.
Na silové vedenia, zemné laná a oznamovacie vedenia sa používajú tvrdá med, bronz, hliník a jeho zliatiny (aldrey, jareal, atď.) a oceľ.
Vodiče majú rôznu konštrukciu. Používajú sa drôty s kruhovým prierezom, sústredné a nesústredné laná, antivibračné, duté a špeciálne laná. Na vedenie vvn sa používajú zväzkové vodiče s dvoma, troma alebo štyrmi vodičmi - lanami vo fáze.
Pri stavbe vedení nn, vn a vvn sa používajúoceľové, betónové, železobetónové stožiare, zo zliatin hliníka a vo výnimočných prípadoch aj drevené pätkové stožiare.